מהפכה שקטה: פריצת דרך טכנולוגית באפל

החברה פועלת להוזיל את מחירי המכוניות החשמליות באופן דרמטי

מערכת עולם הרכב
Getting your Trinity Audio player ready...
המהפכה בדרך? (getty)
המהפכה בדרך? (getty)
שנה גודל פונט א א א א

אחד המכשולים העומדים בפני הפיכת המכונית החשמלית ללהיט מכירות טמון בשני היבטים. בהיבט הראשון, עלויות הייצור הגבוהות של הסלולות שהופכות את המכוניות הללו ללא משתלמות כלכלית ומי שבעיקר קונה אותן הם אנשים בעלי מודעות סביבתית מפותחת או אלו הגרים ומשתמשים במכונית בתוך המטרופולין.

בהיבט השני נמצא טווח הנסיעה שאומנם השתפר פלאים בשנים האחרונות, אך הוא עדיין לא מספיק ע"מ לגמוע מרחקים גדולים כפי שמכונית קונבצניונאלית בעלת מנוע בעירה רגיל יודעת לעשות.

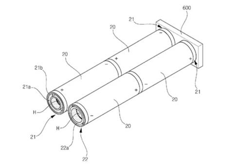
כעת נדמה כי שתי הבעיות השזורות האחת בשניה צפויות למצוא פתרון שבא מכיוונה של ענקית הטכנולוגיה אפל המפתחת בשנים האחרונות מכונית אוטונומית משלה תחת השם "פרוייקט טיטאן". מדיווח של ה- Business Inside עולה כי אפל חתמה על הסכם עם חברה דרום קוריאנית על פיתוח סוללות ליתיום איון חלולות כאשר גודל החלל הוא בקוטר של כמה ס"מ בודדים בלבד.

רגע לפני שנסביר מה היתרון בשיטה החדשה נספר כי סוללות ליתיום איון מתחממות מהאמצע וזקוקות למערכות קירור המוסיפות למשקל המכונית וגם למחירה. הטכנולוגיה של החברה הדרום קוראנית פוטרת את הצורך במערכות קירור יקרות שכן האוויר הזורם בחופשיות לכל היקף הסוללה מספיק לקירורה.

החוזה בין שתי החברות הוא לוט בערפל ומרופד בערימות של ניירות והסכמי סודיות, אך לאחרונה הוגשה בקשה באירופה לפטנט של חברת Orange Power הקוריאנית המונה רק כ-33 עובדים בלבד ועל פי הערכות החברות צפויות לצאת עם מוצר לשוק כבר בשנת 2019.